StudyCluster

 지난 포스팅까지 MOS 구조부터 MOS 구조에 생기는 계면 상태의 종류와 각각의 특성까지 알아보았습니다. 이번 포스팅에서는 MOS구조의 계면 상태를 더욱 효과적으로 정의할 수 있도록 해주는 Surface Potential에 대해서 공부해보도록 하겠습니다. 이것은 이후에 공부할 내용을 이해하는데 있어서 굉장히 중요한 내용이기 때문에 반드시 이해하고 넘어가야 합니다. 

 

Electrostatic Potential $\Phi$와 $\Phi_B$

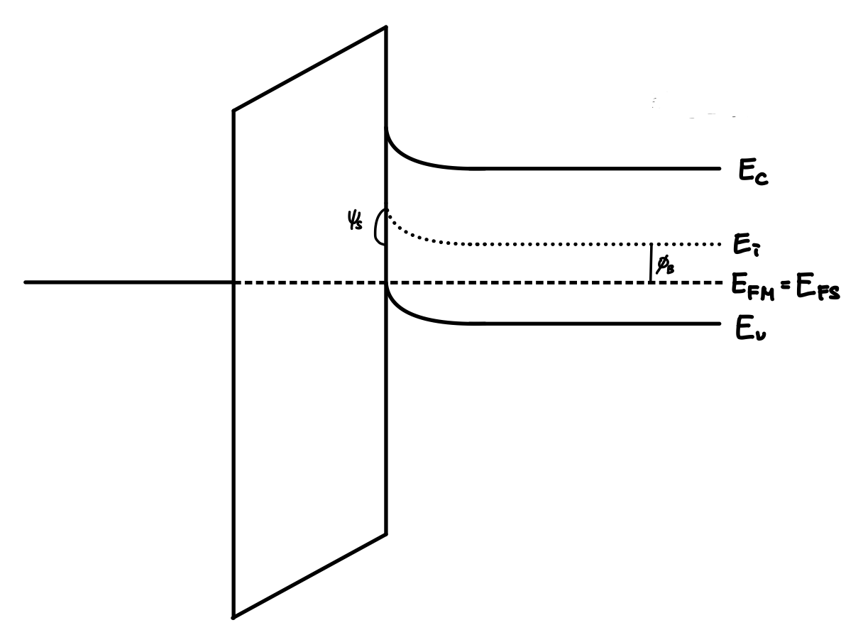
 MOS 구조의 밴다이어 그램에서 이제부터 편의상 Metal 부분은 그리지 않고 Oxide와 Silicon의 계면부분부터만 다시 한번 그려보겠습니다. 그리게 되면 다음과 같이 그려질 겁니다.

Figure 1. MOS 에너지 밴드 다이어그램

 이 때 Depletion Region에는 정공이 없기 때문에 전하분포가 Acceptor들만 존재하게 되죠. Accpetor란 중성 원자에서 정공을 내주고 음이온이 된 Fixed Charge를 말하는 것입니다. 이 때 정공은 모두 Metal과 Oxide의 경계면에 쌓이게 되는 것이죠. 이것을 Deplete 되었다고 표현합니다. 즉, 가우스 법칙에 의해 Si와 Oxide 계면의 Acceptor 음이온과 Metal과 Oxide 계면의 정공들이 전기적으로 중성을 이루게 되는 것 입니다.

 반면 Neutral Region에서는 Ionized된 Acceptor와 정공이 함께 존재하고 있기 때문에 전기적으로 중성 상태를 유지하게 됩니다.

 

 PN접합 다이오드를 공부할 때 우리는 이미 $E_i$와 $E_F$의 간격을 Φ(x)라고 불렀습니다. 이것을 Electrostatic Potential이라고 정의했는데요. 이것을 식으로 나타내면 다음과 같습니다.

 

Φ(x) = ${{E_F - E_i(x)} \over q} \cdot\cdot\cdot (1)$

 

 Neutral Region에서 Electrostatic Potential은 $Φ_B$라고 합시다. 이렇게 구분해서 부르는 이유는 Depletion 상태일 때는 밴드가 점점 휘면서 계면에 접근함에 따라 Electrostatic Potential Φ(x)이 변하지만 Neutral Region에서는 Band가 굽지 않기 때문에 Electrostatic Potential $\Phi$가 일정하기 때문입니다. 이 때 $Φ_B$는 Neutral Region에서 정의되기 때문에 Fermi Level $E_F$에 의해 결정됩니다. 이것은 $\Phi_B$가 Si 기판의 Doping 농도에 의해 결정된다는 것을 의미합니다. 따라서 다음과 같은 식을 통해 계산할 수 있습니다. 

 

$$ Φ_B = {{E_F|_{Bulk} - E_i|_{Bulk}} \over q} = {{kT} \over q} ln{N_A \over n_i}$$

 

Electrostatic Potential $\Phi$와 Carrier 농도의 관계 

 이전에 전자의 농도는 다음과 같은 식을 통해 구할 수 있다는 것을 배웠습니다. 기억을 되살려 봅시다.

 

$$ n = N_ce^{{E_F - E_c} \over k_BT} = N_ce^{{E_F - E_i} \over k_BT}e^{{E_i - E_c} \over k_BT} \cdot\cdot\cdot (2)$$

 

 식 (2)를 $n_i$를 이용해 나타내면 다음과 같습니다.

 

$$ n= n_ie^{{E_i - E_c} \over k_BT} \cdot\cdot\cdot (3)$$

 

여기서 식 (1)과 (3)을 연립하면 전자의 농도를 Electrostatic Potential $\Phi(x)$로 표현할 수 있게 됩니다.

 

$$ n = n_ie^{{qΦ(x)} \over k_BT} \cdot\cdot\cdot (4)$$

 

 정공의 농도도 같은 방법을 이용하여 Φ(x)에 대한 식으로 표현할 수 있습니다.먼저 앞에서 전자에 대한 농도를 표현한 것처럼 정공의 농도를 표현하게 되면 다음과 같이 표현할 수 있습니다. 

 

$$p = N_ve^{{E_v - E_F} \over k_BT} = Nv_e^{{E_v - E_i} \over k_BT}e^{{E_i - E_F} \over k_BT} \cdot\cdot\cdot (5)$$

 

식 (5)를 $n_i$를 이용해 나타내면 다음과 같습니다.

 

$$p = n_ie^{{E_v - E_i} \over k_BT}  \cdot\cdot\cdot (6)$$

 

식 (1)과 (6) 연립하면 정공을 Electrostatic Potential $\Phi(x)$로 표현한 식을 얻을 수 있습니다.

 

$$ p = n_ie^{-{qΦ(x)} \over k_BT} \cdot\cdot\cdot (7)$$

 

 이렇게 정공과 전자의 농도를 Electrostatic Potentiial $\Phi$로 나타낸 식을 유도했습니다. 유도한 식을 이용하면 Neutral Region과 Depletion Region에서 정공과 전자의 농도를 Electrostatic Potentail $\Phi$로 나타낼 수 있게 됩니다.  

 

Neutral Region

 Neutral Region에서 정공의 농도 $P_0$는 우리가 도핑한 농도 $N_A$이고 이것을 $Φ_B$에 대한 식으로 표현할 수 있습니다.

 

$$P_0 = N_A = n_ie^{-{qΦ_B} \over k_BT}$$

 

 마찬가지로 Neutral Region에서 전자의 농도는 Mass Action Law에 의해 다음과 같이 구할 수 있습니다.

 

$$ n_0 = {{n_i}^2 \over N_A} = n_ie^{{qΦ_B} \over k_BT}$$

 

Depletion Region

 한편 Depletion Region에서 정공의 농도는 Neutral Region에서의 식에 $P_0$ 대신 P(x)를, $Φ_B$ 대신 Φ(x)를 넣어 표현할 수 있습니다. 

$$ P(x) = n_ie^{-{qΦ(x)} \over k_BT} = n_ie^{-{q{Φ - Φ_B}} \over k_BT}e^{-{qφ_B} \over k_BT}$$

 

이 때, Neutral Region에서 $P_0 = n_ie^{-{qΦ_B} \over k_BT} $ 이었기 때문에 위의 식에 이것을 대입하면 다음과 같은 결과를 얻을 수 있습니다. 

 

$$ P(x) = P_0e^{-{q(Φ - Φ_B)} \over k_BT} =P_0e^{-{qΨ(x)} \over k_BT}$$

 

같은 원리로 전자의 농도 n(x)에 대해서도 식을 유도해 낼 수 있습니다.

 

$$ n(x) = n_0e^{{q(Φ - Φ_B} \over k_BT} = n_0e^{{qΦ(x)} \over k_BT}$$ 

 

 

Surface Potential

 여기까지가 PN 다이오드를 공부하며 유도했던 식입니다. 그런데 PN 다이오드와는 다르게 MOS 구조에서는 Depletion Region에서 에너지 밴드가 굽는 현상이 발생합니다. 그렇기 때문에 PN 다이오드에서 사용하는 Electrostatic Potential $\Phi$는 MOS 구조에 적용할 수는 있지만 그렇게 편리한 변수는 아닙니다. 이것을 보완하기 위해 MOS 구조에서는 $\Psi$라는 변수로 Electrostatic Potential을 새롭게 정의합니다. 

 

$$\Psi(x) = \Phi(x) - \Phi_B \cdot\cdot\cdot (8)$$

 

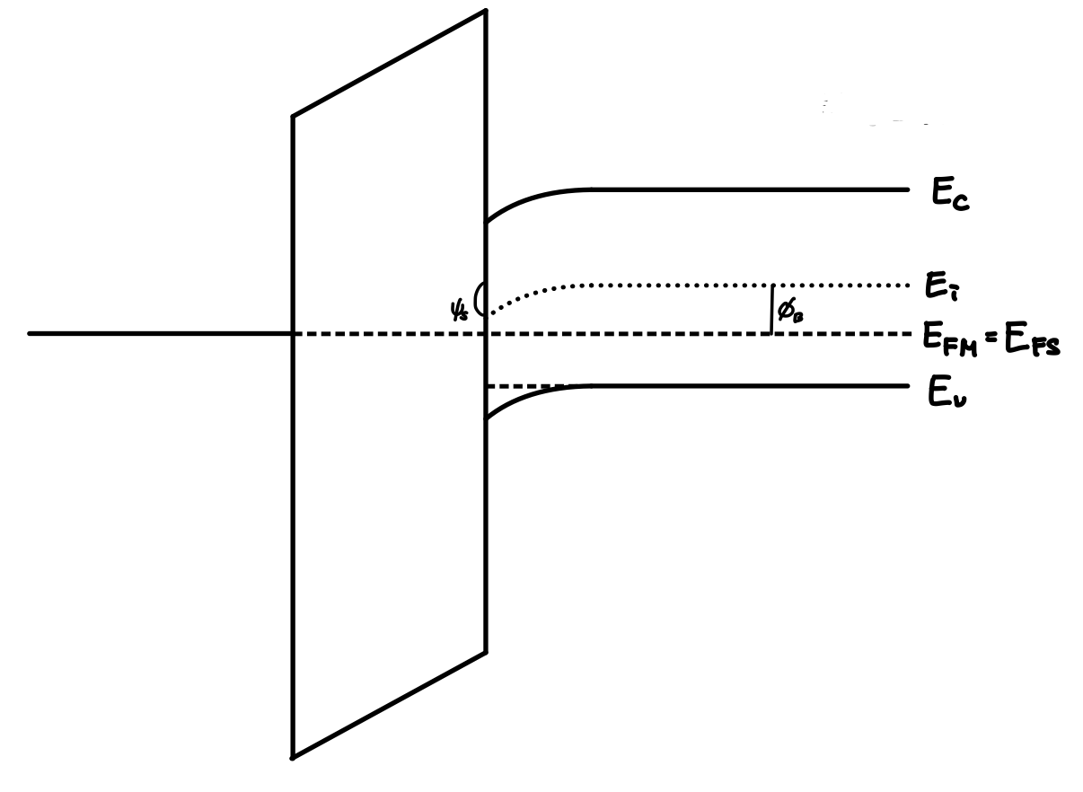
 수식으로만 해석해보았을 때 Ψ(x)는 Φ(x)에서 Bulk에서의 Φ($Φ_B$)를 뺀 것입니다. 이것이 어떤 물리적 의미를 갖는지 살펴보기 위해 에너지 밴드 다이어그램에 나타내 보면 Fig. 2와 같이 그려집니다. 

 

Figure 2. MOS 에너지 밴드 다이어그램

 

 그림을 자세히 살펴보면 $\Psi(x)$는 Depletion Region의 Intrinsic level $E_i$가 Neutral Region에서의 Intrinsic Level $E_i$와 비교했을 때 얼마나 아래로 내려가 있는지를 의미한다는 것을 알 수 있습니다. 이것을 수식적으로 유도해 봅시다.

 먼저, $\Psi$의 정의는 위치 x에서의 Electrostatic Potential $\Phi$와 Bulk에서의 Electrostatic Potential $\Phi_B$의 차이입니다. 이것을 식으로 정리해보면 다음과 같습니다.

 

$$\Psi= \Phi - \Phi_B$$

 

이 때 $\Phi$의 정의는 다음과 같습니다.

 

$$\Phi = {{E_F - E_i} \over {q}}$$ 

 

이제 위의 두 식을 이용해 정리해보면 다음 식을 유도할 수 있습니다.

 

$$ \Psi = \Phi - \Phi_B = {{E_F} - E_i} \over {q}} - {{E_F|_{Bulk} - E_i|_{Bulk}} \over {q}}

 

이 때 Fermi Level은 항상 일정하기 때문에 $\Psi_s$는 다음과 같이 나타낼 수 있습니다

 

$$\Psi_s = {{E_i|_{Bulk} - E_i} \over {q}} $$

 

 이 때 Bulk에서 Ψ는 얼마일지 생각해봅시다. Bulk에서 $Φ_B$에서 $Φ_B$를 뺀 것이니까 0이 될 것입니다. 즉 기준이 되는 zero level입니다. 그리고 x가 0에 가까워짐에 따라 Band가 굽은 만큼 $\Psi(x)$가 변하게 됩니다. 

 이를 통해 $\Psi(x)$는 zero level에서 밑으로 밴드가 얼마나 더 굽어졌는가를 의미하는 변수라는 것을 알 수 있습니다. 그리고 특별히 Oxide와 Si이 만나는 계면에서의 Ψ(x)를 $Ψ_s$라고 쓰고 이것을 Surface Potential이라고 부릅니다. 일반적으로 Band의 굽은 정도를 표현할 때는 Surface Potential $\Psi_s$를 이용하여 표현합니다. 

 

Surface Potential과 Carrier 농도의 관계

 Surface Potential을 정의함으로써 이것을 이용해서 $P_s$와 $n_s$를 표현할 수가 있게 됩니다.

아까 유도 했던 식 (4)와 (7)을 다시 써보겠습니다.

 

$$ n = n_ie^{{qΦ(x)} \over k_BT} \cdot\cdot\cdot (4)$$

$$ p = n_ie^{-{qΦ(x)} \over k_BT} \cdot\cdot\cdot (7)$$

 

여기서 식 (4)와 (7)을 $\Psi_s$를 사용해서 나타내기 위해 조금 변형시켜 보겠습니다.

$$ n = n_ie^{{q(\Phi(x) - \Phi_B)} \over kB_T}e^{{q\Phi_B} \over {k_BT}} \cdot\cdot\cdot (9) $$

$$ p = n_ie^{{-q(\Phi(x) - \Phi_B)} \over kB_T}e^{{-q\Phi_B} \over {k_BT}} \cdot\cdot\cdot (10) $$

 

식 (9)와 (10)에 식(8)을 대입하면 Electrostatic Potential \Psi(x)을 이용하여 Carrier 농도를 표현할 수 있습니다.

 

$$ n = n_ie^{{q\Psi(x)} \over kB_T}e^{{q\Phi_B} \over {k_BT}} \cdot\cdot\cdot (11) $$

$$ p = n_ie^{{-q\Psi(x))} \over kB_T}e^{{-q\Phi_B} \over {k_BT}} \cdot\cdot\cdot (12) $$

 

 

또한, 다이오드를 공부할 때 다음과 같은 식이 성립한다는 것을 보인 적이 있습니다. 

 

$$n_0 = n_ie^{(q\Phi_B) \over {k_BT}} \cdot\cdot\cdot (13)$$

$$P_0 = n_ie^{{-q\Phi_B} \over {k_BT}} \cdot\cdot\cdot (14)$$

 

식 (13)을 식(11)에, 식 (14)를 식(12)에 각각 대입하면 다음과 같이 정리할 수 있습니다. 

 

$$n = n_0e^{{qΨ(x)} \over k_BT}$$

$$P = P_0e^{-{qΨ(x)} \over k_BT}$$

 

또한 특별히 Si와 Oxide의 계면에서의 전공과 전자의 농도를 다음과 같이 표현할 수 있습니다. 

 

$$n_s = n_0e^{{qΨ_s} \over k_BT}$$

$$P_s = P_0e^{-{qΨ_s} \over k_BT}$$

 

 이렇게 MOS 구조 내의 전자와 정공의 농도를 나타내식 식을 유도했습니다. 우리가 처음 공부할 때는 x라는 임의의 위치에서 정공의 농도를 과거에는 $N_v$의 식으로 표현했습니다. 그러다가 $n_i$에 대한 식을거쳐 지금은 $P_0$를 이용한 식으로 변형시켰습니다. 이렇게 함으로써 우리가 얻을 수 있는 이점은 무엇일까요?

 $P_0$와 $n_0$는 각각 Bulk에서 정공의 농도, 전자의 농도였습니다. 따라서 $P_0$와 $n_0$로 정공의 농도와 전자의 농도를 표현함으로써  Bulk에서 Carrier의 농도 대비 x 지점에서의 Carrier의 농도를 직관적으로 쉽게 알 수 있습니다.

 MOS 구조의 경우 Gate에 가하는 전압에따라 계면의 상태가 deplete되기도 하고 Accumuate 되기도하는 등 계면에서 정공과 전자의 농도에 따라 상태가 변하기 때문에 이것을 표현하고 직관적으로 이해하기에 효과적인 식이 되는 것입니다. 

 

 

Surface Potential에 따른 계면 상태

 MOS 구조에서 Si와 Oxide의 계면상태는 Flat Band, Accumulation, Depletion, Weak Inversion, Strong Inversion 총 5가지가 존재했었습니다. 이제 이것을 방금 우리가 배운 Surface Potential을 이용하여 정확히 어떤 조건에서 어떤 계면 상태가 되는지를 알아보도록 하겠습니다. 

우리는 항상 MOS 구조를 만들었을 때 초기 계면 상태를 Depletion 상태로 볼 것이다라고 했습니다. 그 이유는 우리가 사용하는 Si 기판의 Fermi Level이 Metal의 Fermi Level보다 낮도록 Doping을 했다고 가정했기 때문입니다. 

 다시 한번 말씀드리지만 Si 기판의 Doping 농도를 다르게 하면 초기 계면상태가 달라질 수 있습니다. 초기 계면 상태가 바뀌면 다른 것들이 어떻게 달라질지는 각자 생각해 보시기 바랍니다. 

 

여기서는 Surface Potential에 따른 게면 상태만 살펴보도록 하겠습니다. 계면의 상태에 따라 기판 내에서 정공과 전자의 농도가 어떻게 변하는지에 대해서는 이전 포스팅을 참조하시길 바랍니다. 

 

 

[반도체소자] MOS 계면 상태

지난 포스팅에서는 Thermal Equilibtium 일 때 에너지 밴드 다이어그램을 살펴보았습니다. 그래서 각 층의 schottky Barrier Height가 일정하게 유지되고 Fermi Level이 일정하게 존재한다는 가정 하에 에너지

engineering-cluster.tistory.com

 

 

Depletion

 Depletion 상태에서 MOS 구조의 에너지 밴드 다이어그램을 그려봅시다. 

주목 해야할 부분은 SI와 Oxide의 계면입니다. 계면을 보시면 Intrinsic Level이 아래로 굽어 있는 것을 보실 수 있는데요. 여기서 $\Psi_s$는 Bulk와 계면에서 Intrinsic Level의 차이를 의미하기 때문에 Depletion 상태는 다음과 같은 조건에서 발생한다고 말할 수 있습니다.

 

$$ 0 < \Psi_s < |\Phi_B| $$

 

$\Phi_B$와 \Psi_s는 부호가 반대로 되기 때문에 절댓값을 추가하였습니다.

 

 

Flat Band

 Gate에 Metal과 Si의 일함수 차이만큼의 음의 전압을 가하게 되면 Band가 위로 굽으면서 형성되었던 Depletion 상태의 Band가 평평하게 펴지게 됩니다. 이것을 Flat Band 상태라고 정의했습니다. Flat Band 상태의 에너지 밴드 다이어그램을 그림으로 나타내보면 다음과 같습니다.

여기서는 Depletion 상태와 다르게 Band가 평평하기 때문에 $\Psi_s$의 값이 어느 지점이든 모두 0으로 똑같을 것입니다. 따라서 Flat Band 상태는 다음과 같은 조건에서 발생한다고 말할 수 있습니다. 

 

$$ \Psi_s = 0 $$

 

Accumulation

 Flat Band 상태에서 더욱 강한 음의 전압을 걸게 되면 Band가 오히려 위로 굽는 Accumulation 상태가 발생합니다. 이 역시 그림을 한번 그려보겠습니다.

 이제 그림만 봐도 어떤 조건에서 Accumulation 상태가 형성될지 감이 오실거라고 생각합니다. Band가 위로 굽었기 때문에 Accumulation 상태에서 $\Psi_s$는 음수가 되겠죠. 따라서 다음과 같은 조건에서 Accumulation이 발생합니다.

 

$$ \Psi_s < 0 $$

Weak Inversion

 이제 다시 돌아와서 Depletion 상태에서 Gate에 양의 전압을 가해봅시다. 그러면 Depletion Region이 점점 늘다가 더이상 늘어나지 않고 전자가 생기기 시작하는 지점이 발생하는데요. 이 때를 기준으로 Depletion과 Weak Inversion을 나누게 됩니다. 에너지 밴드 다이어 그램을 그려봅시다.

 그림에서 볼수 있듯이 Weak Inverison에서는 Intrinsic Level이 Fermi Level아래로 내려가게 됩니다. 아까 Weak Inversion이 시작되는 지점을 Depletion Region이 더 이상 늘어나지 않고 전자가 생기기 시작하는 지점이라고 했습니다. 이것은 계면이 n-type으로 바뀌기 시작했다는 뜻이죠. 즉, Bulk에 존재하던 정공이 모두 사라졌다는 것을 의미합니다. 정공이 모두 사라지게 되면 Fermi Level은 Intrinsic Level과 같아지게 되므로 Weak Inversion이 형성되는 조건은 다음과 같습니다. 

 

$$ \Psi_s > |\Phi_B| $$

 

Strong inversion

 이제 Strong Inversion을 한번 보겠습니다. Strong Inversion은 다음 포스팅에서 진행할 Threshold Voltage와 큰 관련이 있기 때문에 여기서는 소개 정도만 하고 다음 포스팅에서 자세히 다루도록 하겠습니다.

 

Strong Inversion이란 계면에서의 전자의 농도가 Bulk에서의 정공의 농도와 커진 상태를 말합니다. 따라서 Strong Inversion이 시작 되는 조건은 다음과 같습니다. 

 

$$ \Phi_s > 2|\Phi_B| $$

 

이 조건으로 인해 자연스럽게 Weak Inversion이 생길 조건은 Strong inversion이 일어나기 직전까지로 한정되게 됩니다.

 

 

정리하면 다음과 같습니다.

 

Depletion : $$ 0 < \Psi_s < |\Phi_B| $$

Flat Band : $$ \Psi_s = 0 $$

Accumulation : $$ \Psi_s < 0 $$

Weak Inversion : $$ |\Phi_B| < \Psi_s < 2|\Phi_B| $$

Strong Inversion : $$ \Phi_s > 2|\Phi_B| $$

 

다음 포스팅에서는 Threshold Voltage에 대해 알아보겠습니다.

 

공유하기

facebook twitter kakaoTalk kakaostory naver band
loading